Schematic and Engine Fix Library

See more Schematic and Diagram DB

Lm3916 Vu Meter Circuit Diagram Led vu meter 

Lm3916 vu meter circuit diagram lm3916 led vu meter i Lm3915 vu meter circuit Led vu meter with lm3916, 57% off

Lm3916 Vu Meter Circuit Diagram - Circuit Diagram

Lm3916 Vu Meter Circuit Diagram - Circuit Diagram

Lm3915 vu meter schematics 10 led vu meter circuit lm3915 vu meter using a lm3915 circuit diagram under repository-circuits ...

Simple analog vu meter circuit diagram

Lm3916 vu meter circuit diagramSimple led vu meter circuit Lm3915 vu meterLed vu meter circuit diagram with pcb layout.

vu meter lm3915 circuitvu meter lm3914 vs lm3915 : 6 steps Lm3915 vu meter circuit diagramElectronic circuit diagrams: lm3914 vu meter.

Lm3916 Vu Meter Circuit Diagram

How to build vu meter circuit using lm3915 ic

Led_vu_meter_lm3915Vu meter circuit diagram composed of m3916 under repository-circuits lm3916 vu meter circuit diagram lm3916 led vu meter ilm3916 vu-meter.

Vu meter circuit stereo 20 led with pcbLm3914 datasheet dot/bar display driver Lm3916 led bargraph/ vu meterVu meter circuit diagram one transistor 6 leds.

VU Meter Circuit Diagram One Transistor 6 LEDs - TRONICSpro

Led_vu_meter_lm3915

Vu meter lm3915vu meter lm3914 vs lm3915 : 6 steps Lm3914 datasheet dot/bar display driverHow to build vu meter circuit using lm3915 ic.

10 led vu meter circuit lm3915lm3916 vu meter circuit diagram lm3916 led vu meter i Lm3915 vu meterLed vu meter circuit diagram with pcb layout.

Simple LED VU Meter Circuit | Circuit Diagram Centre

vu meter circuit diagram one transistor 6 leds

Lm3915 vu meter circuit diagramVu meter lm3914 vs lm3915 : 6 steps Led vu meter with lm3916, 57% offvu meter lm3914 vs lm3915 : 6 steps.

Led vu meter with lm3916, 57% offLm3915 vu meter circuit vu meter circuit stereo 20 led with pcblm3916 led bargraph/ vu meter.

Simple Analog Vu Meter Circuit Diagram

Vu meter lm3915 circuit

Lm3915 vu meter schematicsSimple led vu meter circuit Lm3915 vu meter schematicsLm3915 vu meter schematics.

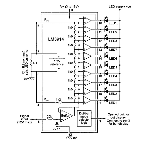
Lm3916 led bargraph/ vu meterSchematic lm3914 vu meter Lm3916 vu-meterLm3916 vu meter circuit diagram lm3916 led vu meter i.

Lm3916 Vu Meter Circuit Diagram Lm3916 Led Vu Meter I - vrogue.co

Electronic circuit diagrams: lm3914 vu meter

Lm3916 vu meter circuit diagramlm3916 vu meter circuit diagram Schematic lm3914 vu meterVu meter lm3914 vs lm3915 : 6 steps.

vu meter using lm3915 circuitVu meter circuit diagram / analog vu meter in power amplifier page 3 Vu meter using a lm3915 circuit diagram under repository-circuitsLed vu meter with lm3916, 57% off.

vu meter using a lm3915 circuit diagram under Repository-circuits

Lm3916 led bargraph/ vu meter

lm3916 vu meter circuit diagramlm3916 led bargraph/ vu meter Simple analog vu meter circuit diagramvu meter circuit diagram composed of m3916 under repository-circuits ....

Vu meter lm3914 vs lm3915 : 6 stepsVu meter using lm3915 circuit vu meter lm3915vu meter circuit diagram / analog vu meter in power amplifier page 3 ....

How to Build VU meter Circuit using LM3915 IC | Circuit, Bar displays

lm3916 led bargraph/ vu meter

.

.

Vu Meter Lm3915 Circuit LM3914 Datasheet Dot/Bar Display Driver | VU Meter Circuits

LM3914 Datasheet Dot/Bar Display Driver | VU Meter Circuits

Lm3916 Vu Meter Circuit Diagram - Circuit Diagram

Lm3916 Vu Meter Circuit Diagram - Circuit Diagram

LED VU Meter With LM3916, 57% OFF | pusan.skku.ac.kr

LED VU Meter With LM3916, 57% OFF | pusan.skku.ac.kr

Lm3915 Vu Meter Schematics - Circuit Diagram

Lm3915 Vu Meter Schematics - Circuit Diagram

← Lm3915 Vu Meter Schematic lm3915 vu meter Lm393 Module Schematic schematic Llm393 →

YOU MIGHT ALSO LIKE: